Moog Transistor Matcher Questions

The Old Crow oldcrow at oldcrows.net
Sat Dec 30 20:59:26 CET 2000


On 29 Dec 2000, RFAHL wrote:

> I just finished making a copy of the moog transistor matcher.  I'm powering
> it off +/-15 V, which according to the notes on the diagram is ok.
> 
> The circuit seems to be getting really hot.  I'm using a BA4558 and it is
> too hot too touch when the circuit is on.  the regulators get really hot on
> the power supply, even though only the matcher is being powered.  I checked
> the circuit out and I've assembled it correctly as far as I can tell(I did
> add the resistor that's missing in the moog diagram).  Can this circuit
> really handle +/- 15 V?

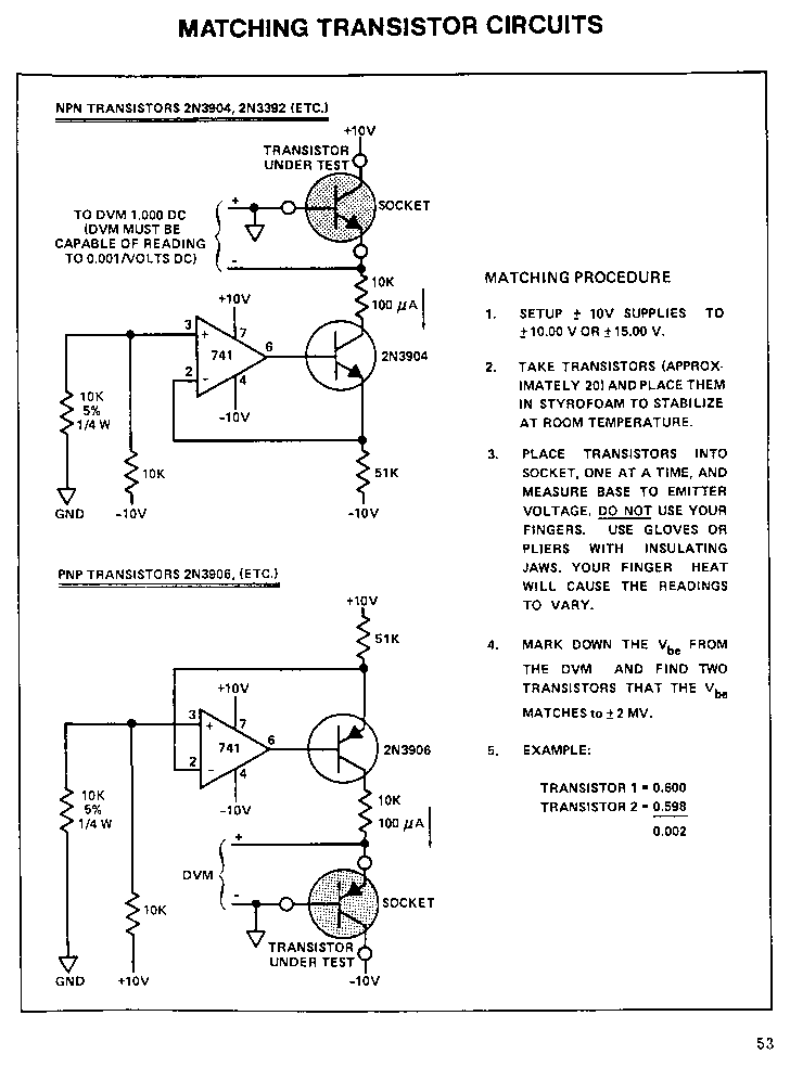
  This is probably due to the missing resistor on the original drawing.  I
made a corrected version which shows the added 10K resistor in the PNP
circuit:

http://www.oldcrows.net/~oldcrow/synth/misc/matching.gif

  I've built the circuit on several etched boards, works fine.  I end up
sticking the thing into an environmenal test oven to keep the ambient
temperature stable, however.

Crow

/**/





More information about the Synth-diy mailing list